Annons

Tändföljd mm

1
Märkte när jag drog bort mina tändkablar och skulle sit med dom igen att ettans cylinder inte satt bak på hatten utan fram som på oldsmobile.. vafan är det som händer? :D

Går inte med pontiacs utan oldsmobile. Nu får jag inte till tändningen utan den vill gå på typ 24 grader och inte 12 då dör den bara.
Annons

Re: Tändföljd mm

2
Pontiac%20Spark%20Plug%20Wiring.gif Pontiac%20Spark%20Plug%20Wiring.gif Visad 7471 gånger 44.74 KiB
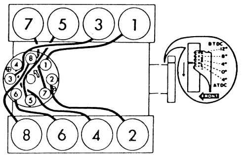
Veven snurrar 2 varv medan kammen snurrar 1 varv och 1:an och 6:ans kolv är alltid uppe samtidigt men endast den cylinder som har stängda ventiler är i tändläge och då ska rotors spets peka mot förarplatsen och vakuumförställningens anslutning peka 90° i motorns längdriktning mot förarsidans innerskärm.
Först nu vet du var du ska sätta 1:ans tändkabel.....
1966 GTO TriPower
1970 GTO TheJudge
KentsQjet
http://www.poci.org/
http://gtoaa.org/

Re: Tändföljd mm

9
Låter som en Ch**a-mek varit i farten.....

Man kan sätta i fördelaren så att rotorn pekar åt åtta olika håll, endast ett är dock rätt.

Detta gäller för Pontiac V8:
Dra upp 1:an i TDC och tändläge (stängda ventiler) och 6:ans vippor "väger", stoppa i fördelaren med vakuumförställningen 90° i motorns längdriktning och anslutningen mot förarsidans inner-skärm, håll samtidigt rotorns spets i samma position, rotorn vrider sig mot förarplatsen när fördelaren trycks i, glöm inte packningen mellan fördelare och block.
Sen är det bara att stoppa i 1:ans tändkabel i den terminal rotorn pekar på och resten i ordning moturs.
1966 GTO TriPower
1970 GTO TheJudge
KentsQjet
http://www.poci.org/
http://gtoaa.org/

Re: Tändföljd mm

10
Har testat starta när den är i tdc med smaäller och har sig, då kom jag på en sak.. jag har inte dragit ventilerna enligt sitt schema jag såg du la upp utan bara på känn.. kan det kanske va därför den nu inte går igång när jag har den i tdc?? Har rört till det för mkt nu för mitt eget bästa haha. Men nog är det en c**va kille som dragit ihop motorn.. stämmer inte med rotorns placering iaf